最新資訊
了解DSJet最新資訊
干冰的實際作用和干冰清洗機使用的好處有哪些?
2022-04-20
干冰的升華點為-78.5℃,蓄冷量是冰的兩倍,蓄冷效果比冰好很多。重要的是,隨著溫度的升高,干冰不會像冰一樣變成水,它會無處不在。只會升華成氣體,沒有殘留和污染。而且干冰體積小
選擇干冰清洗機進行表面清洗更為環保
2022-04-19
在日益嚴苛的環保要求下,傳統的超聲波、化學藥劑、高壓射流、噴砂等清洗方法逐步淘汰。干冰清洗作為一種高效、清潔、無殘留的全新清潔方法,正在變為傳統清洗作業的替代工藝,
干冰清洗物體表面的爆破原理是什么?
2022-04-18
它是一種干冰清洗機清洗機,干冰清洗法在世界范圍內發展迅速。在清洗系統中,干冰清洗機的干冰顆粒被高壓空氣噴射到待清洗的工作面上,利用溫差的物理反映,以不同的收縮率分離不
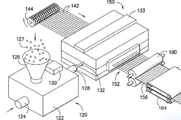
干冰清洗連續纖維增強熱塑性預浸帶生產線效果怎么樣?
2022-04-15
連續纖維增強熱塑性預浸帶纏繞增強管充分利用了玻璃纖維的強度、耐熱性和經濟性,是目前復合塑料管中最經濟、使用壽命最好的管材,使管材具有耐高溫、耐高壓、耐磨的性能,解決了
干冰清洗模具的效果展示
2022-04-14
隨著經濟的快速發展,產品的數量和形狀發生變化,對產品技術的要求也越來越高。對于一些注塑產品,成型需要模具。因為高溫操作,脫模劑會殘留在模具型腔內,會在模具表面產生條痕和
干冰的運輸在我們國內的應用
2022-04-13
隨著電子商務的快速發展,快遞、冷鏈運輸蓬勃發展,春天來了。據不完全統計,2020年中國將有約700億個包裹,換算成每天約2億個包裹。包裹種類繁多,不僅有衣服、包包、化妝品,還有零
使用干冰清洗的兩種優勢你知道么?
2022-04-12
干冰清潔服務的優勢隨著干冰市場的成熟已經被人們所認可,干冰的廣泛應用比其他傳統清潔方式更加實用。具體來說,干冰的“一低兩高”表現贏得人們的青睞。 第一,成
注塑模具的干冰清洗在線清洗效果
2022-04-08
注塑模具是生產各種工業產品的重要工藝設備。隨著塑料工業的快速發展和塑料制品在航空、航天、電子、機械、船舶和汽車等工業部門的普及應用,對注塑模具的要求越來越高。 注
自動化干冰清洗系統可以應用的有哪些方面
2022-04-07
工業模具輪胎、橡膠模具、聚氨酯模具、聚乙烯模具、PET模具、發泡模具、注塑模具、合金壓鑄模具、鑄造用熱芯盒、冷芯盒可去除殘留樹脂、無效離型膜、碳化膜劑、油污、通
使用干冰清洗機的好處有很多方面
2022-04-06
干冰清潔技術是一種相對較新的工藝,它以特別溫和和環保的方式去除即使是頑固的污垢殘留。干冰清洗機提供速度、靈活性和移動性,這越來越代表其他清洗過程的成本節約。另外也
模具清洗的干冰清洗工藝
2022-04-06
目前清洗模板和模具部件所花費的工時已經大大超過了所有其他維修作業(拆卸、調試或組裝)所使用的工時,主要是因為:一方面,清洗模板和模具是最大限度延長模具使用壽命、提高模



